Se rendre au contenu

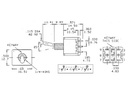
INVERSEUR TRIPOLAIRE VERTICAL ON-ON - TYPE POUR CI

https://www.reboul.fr/web/image/product.template/61314/image_1920?unique=2891655
possibilité de rendre étanche avec capuchon 1015-4670 1274-4930 - Connexions:pour ci 1274-4978 - Connexions:cosses 1274-4985 - Connexions:pour ci 1274-5036 - Connexions:cosses 1274-5043 - Connexions:pour ci 1274-5081 - Connexions:pour ci 1274-5104 - Connexions:cosses 1274-5111 - Connexions:pour ci
Reference: 8301C
Code commande: 1274-4930
Disponibilité:
sous 7 jour(s)

7,14 € 7.14 EUR 7,14 € TTC

Not Available For Sale

Caracteristiques
Catégorie: Miniature
Type: Inverseur
Nb de pôles: 3
Configuration: ON-ON