Se rendre au contenu

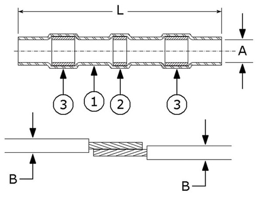
Prolongateurs